ТПР-0292

ТПР-0292
ТПР-0292

"Платиновые" термопары с защитным чехлом из корундовой керамики.

Отправить заявку
ГарантияДо 12 месяцев со дня ввода в эксплуатацию, но не более 18 месяцев с даты изготовления, в пределах ресурса.
Основные технические характеристики

Предназначены для измерения температуры газообразных нейтральных и окислительных сред, воздуха, инертных газов, не взаимодействующих с материалом термоэлектродов и неразрушающих материал защитной арматуры.

Диапазоны измерения:
для ТПР:    +600...+1600 °С.
Класс допуска чувствительного элемента:
для ТПР:     2 (по ГОСТ 6616).
 
ТПР-0292
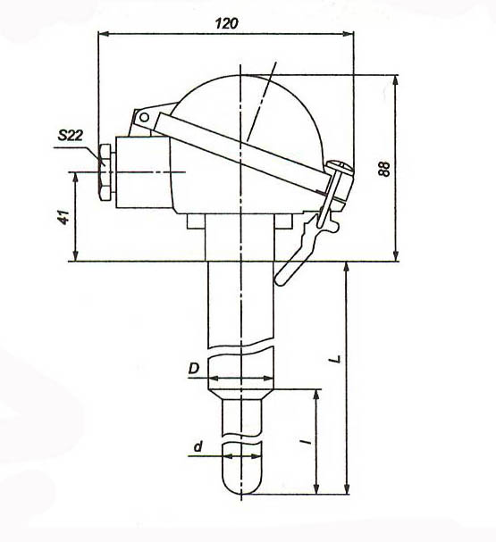
Защитная арматура — без штуцера; материал арматуры (D) — стали 12Х18Н10Т, 15Х25Т; материал погружаемой части (d) — корундовая керамика; D/d=30/20 мм; термоэлектроды Ø0,5/0,5 мм или Ø0,4/0,5 мм; не герметичны к измеряемой среде; рабочий спай изолирован. 
Техническая поддержка
Николай Воронин
Руководитель отдела поддержки клиентов (термометрия)
Тех. поддержка
Написать специалисту
Заказ