ТПП/ТПР-0192, 0192-01, -02, -03, -04, -08, -13, -А, -А1

ТПП/ТПР-0192, 0192-01, -02, -03, -04, -08, -13, -А, -А1
ТПП/ТПР-0192, 0192-01, -02, -03, -04, -08, -13, -А, -А1

"Платиновые" термопары с керамическими или корундовыми чехлами.

Отправить заявку
ГарантияДо 12 месяцев со дня ввода в эксплуатацию, но не более 18 месяцев с даты изготовления, в пределах ресурса.
Основные технические характеристики

Предназначены для измерения температуры газообразных нейтральных и окислительных сред, воздуха, инертных газов, не взаимодействующих с материалом термоэлектродов и не разрушающих материал защитной арматуры.

Диапазоны измерения:
ТПП 0...+1300 °С;
ТПР +600...+1600 °С;
  
Класс допуска чувствительного элемента:
для ТПП:    1, 2 (по ГОСТ 6616);
для ТПР:     2 (по ГОСТ 6616).
ТПП/ТПР-0192, 0192-01, -02, -03, -04, -08, -13, -А, -А1
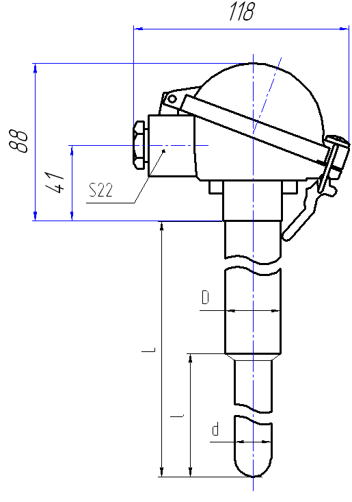
Защитная арматура — без штуцера; материал арматуры (D) — стали 12Х18Н10Т, 15Х25Т, либо ХН45Ю;  D/d=30/20, 32/25, 25/15, 24/20, 16/10 либо 14/8мм; термоэлектроды Ø0,5/0,5 мм или Ø0,4/0,5 мм.
Техническая поддержка
Николай Воронин
Руководитель отдела поддержки клиентов (термометрия)
Тех. поддержка
Написать специалисту
Заказ