ТПП/ТПР-0192-16, -16М

ТПП/ТПР-0192-16, -16М
ТПП/ТПР-0192-16, -16М

"Платиновые" термопары с защитным чехлом из боросилицированного графита.

Отправить заявку
ГарантияДо 12 месяцев со дня ввода в эксплуатацию, но не более 18 месяцев с даты изготовления, в пределах ресурса.
Основные технические характеристики

Предназначены для измерения температуры газообразных нейтральных и окислительных сред, воздуха, инертных газов, не взаимодействующих с материалом термоэлектродов и неразрушающих материал защитной арматуры, расплавов алюминия и других расплавов, неразрушающих материал защитной арматуры.

Диапазоны измерения:
ТПП 0...+1300 °С
ТПР +600...+1300 °С
Класс допуска чувствительного элемента:
для ТПП:     1, 2 (по ГОСТ 6616)
для ТПР:     2 (по ГОСТ 6616)
ТПП/ТПР-0192-16, -16М
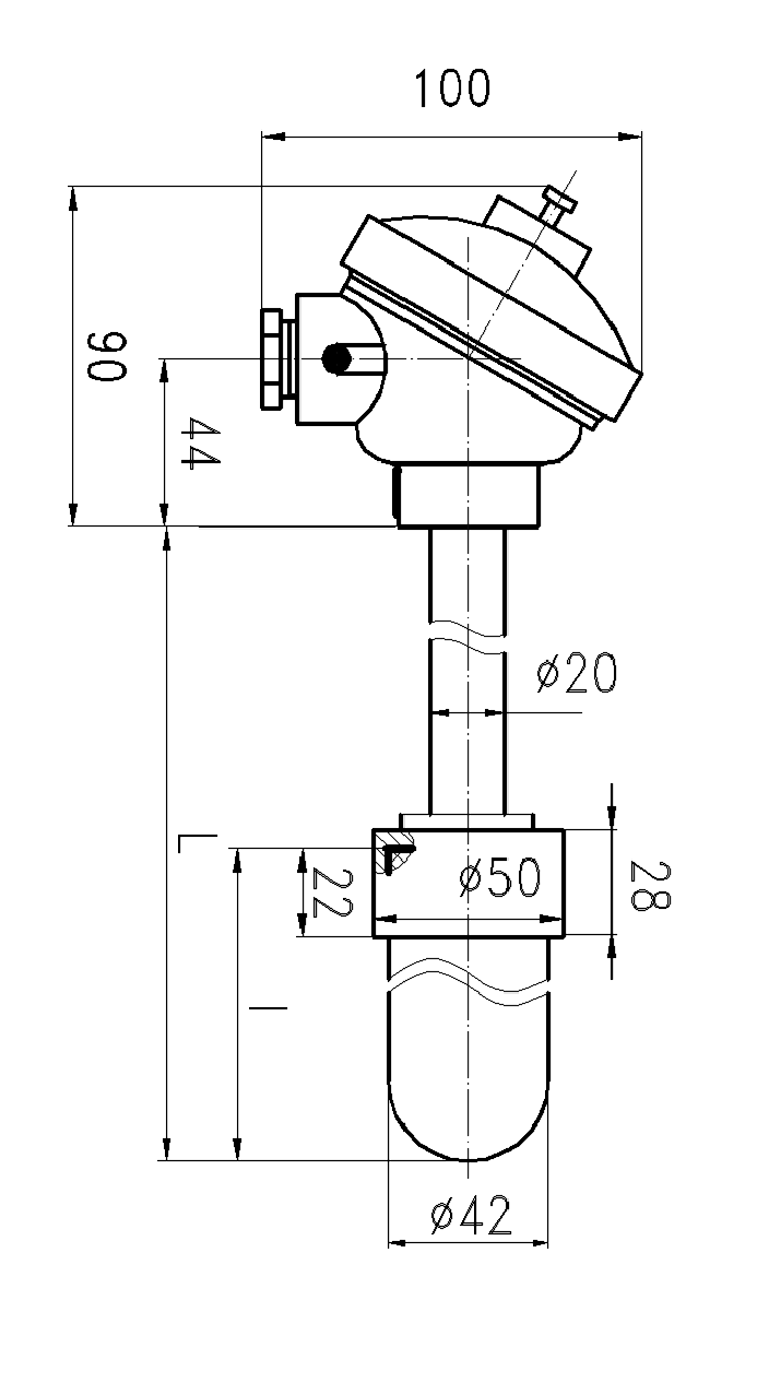
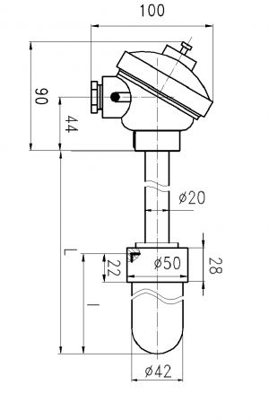
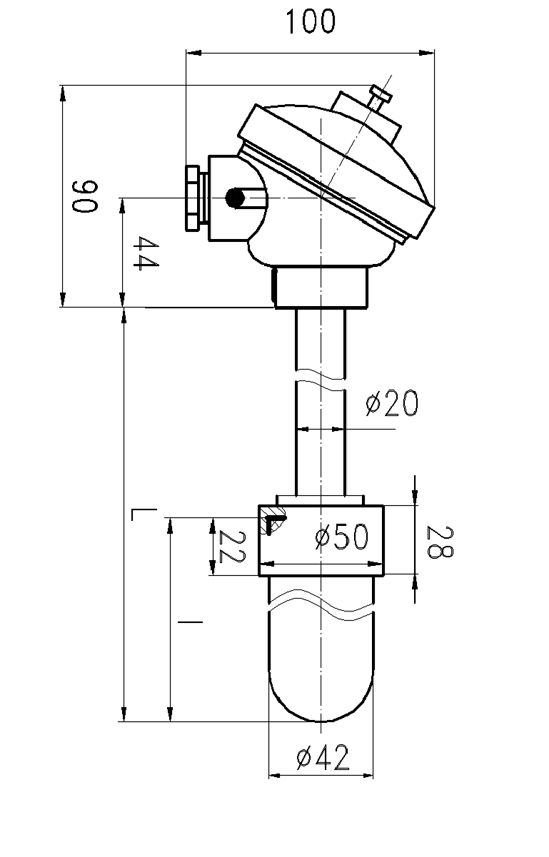
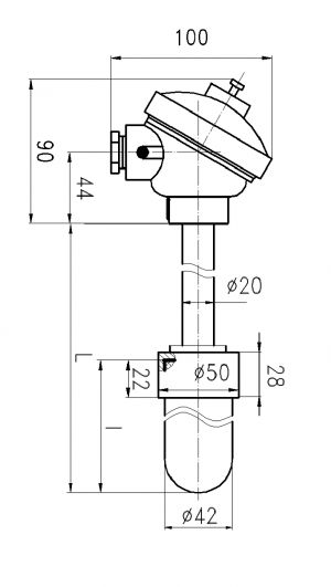
Защитная арматура — без штуцера; материал защитной арматуры, до погружаемой части (D) — сталь 12Х18Н10Т, Ø30 мм (для ТПП/ТПР-0192-16) или Ø20 мм (для ТПП/ТПР-0192-16М); материал погружаемой части (d) — боросилицированный графит БСГ-30, Ø42 мм с внутренним керамическим чехлом и Ø20 (для ТПП/ТПР-0192-16) или  боросилицированный графит БСГ-30 Ø42 мм с внутренним газоплотным импортным чехлом с содержанием Al2О3> 99,7%  и Ø12 мм (для ТПП/ТПР-0192-16М); D/d=30/42, либо 20/42 мм; термоэлектроды Ø0,5/0,5 мм (для ТПП/ТПР-0192-16) и Ø0,4/0,4 мм (для ТПП/ТПР-0192-16М); рабочий спай изолирован.
Техническая поддержка
Николай Воронин
Руководитель отдела поддержки клиентов (термометрия)
Тех. поддержка
Написать специалисту
Заказ