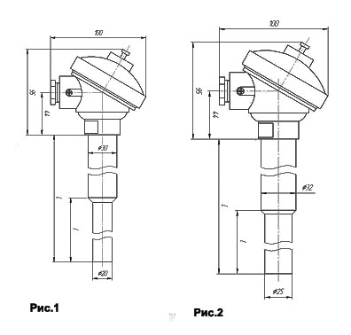
ТНН-0499-01К, -03K

ТНН-0499-01К, -03K
ТНН-0499-01К, -03K

Высокотемпературные датчики с кабельной вставкой и погружной частью из керамики или карбида кремния.

Отправить заявку
ГарантияДо 12 месяцев со дня ввода в эксплуатацию, но не более 18 месяцев с даты изготовления, в пределах ресурса. До 12 месяцев со дня ввода в эксплуатацию, но не более 18 месяцев с даты изготовления, в пределах ресурса. До 12 месяцев со дня ввода в эксплуатацию
Основные технические характеристики

Предназначены для измерения температуры газообразных и жидких, химически неагрессивных и агрессивных сред, не взаимодействующих с материалом термоэлектродов и не разрушающих материал защитной арматуры, а также газообразных сред в обжиговых печах огнеупорного производства.

Диапазон измерения:

для ТНН-0499 -40…+ 1250°С (t ном. = +1000°С).

Класс допуска:

для ТНН — 1, 2.

ТНН-0499-01К, -03K Материал головки — алюминиевый сплав. Материал защитной арматуры — сталь 15Х25Т (Т), сплав ХН45Ю (Т3), погружная часть из керамики либо из карбида кремния. В качестве чувствительного элемента применен импортный термопарный кабель 1-го класса. Рабочий спай изолирован.
Техническая поддержка
Николай Воронин
Руководитель отдела поддержки клиентов (термометрия)
Тех. поддержка
Написать специалисту
Заказ