ТНН-0199, -0199-01

ТНН-0199, -0199-01
ТНН-0199, -0199-01

Высокотемпературные датчики с термоэлектродами диаметром 3,2 мм.

Отправить заявку
ГарантияДо 12 месяцев со дня ввода в эксплуатацию, но не более 18 месяцев с даты изготовления, в пределах ресурса.
Конфигурация и заказ
Выберите необходимые опции
Тип присоединения к процессу
Без крепежных элементов
Штуцер
Температурный диапазон
-40 ... +1000 ºC
-40 ... +1200 ºC
Вид взрывозащиты
Без взрывозащиты
Exia
Ex
Длина монтажной части, (l), мм
160
160
200
200
250
250
320
320
400
400
500
500
630
630
800
800
1000
1000
1250
1250
1600
1600
2000
2000
2500
2500
3150
3150
Основные технические характеристики

Предназначены для измерения температуры газообразных и жидких химически неагрессивных и агрессивных сред, не взаимодействующих с материалом термоэлектродов и не разрушающих материал защитной арматуры.

Диапазон измерения

для ТНН-0199 -40…+ 1000 °С (t ном. +800°С).

Класс допуска

для ТНН — 1, 2.

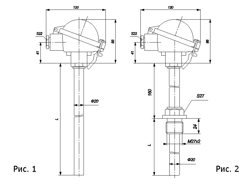
ТНН-0199, -0199-01 Материал головки — алюминиевый сплав. Материал защитной арматуры — сталь 15Х25Т, сплав ХН45Ю, Ø20мм, со штуцером М27х2. Термоэлектроды Ø3,2 мм. Рабочий спай изолирован.
Техническая поддержка
Николай Воронин
Руководитель отдела поддержки клиентов (термометрия)
Тех. поддержка
Написать специалисту
Заказ