ТХА/ТХК/ТЖК/ТНН - 07-01, -02, -03, -04, -05, -06, -07

ТХА/ТХК/ТЖК/ТНН - 07-01, -02, -03, -04, -05, -06, -07
ТХА/ТХК/ТЖК/ТНН - 07-01, -02, -03, -04, -05, -06, -07

Термопары с корпусом из стали  12Х18Н10Т, диаметром арматуры от 1,5 до 10 мм

Отправить заявку
ГарантияДо 12 месяцев со дня ввода в эксплуатацию, но не более 18 месяцев с даты изготовления, в пределах ресурса.
Конфигурация и заказ
Выберите необходимые опции
Тип датчика
ТХА
ТХА
ТХК
ТХК
ТНН
ТНН
ТЖК
ТЖК
Температурный диапазон
-40 ... +600 ºC
-40 ... +750 ºC
-40 ... +800 ºC
-40 ... +900 ºC
-40 ... +1000 ºC
-40 ... +1100 ºC
-40 ... +1250 ºC
Исполнение
01
01
02
02
03
03
04
04
05
05
06
06
07
07
Вид взрывозащиты
Без взрывозащиты
Exia
Ex
Тип присоединения к процессу
Без крепёжных элементов
Штуцер
Диаметр арматуры, мм
1.5
d1.5
2
d2
3
d3
4.5
d4.5
6
d6
8
d8
10
d10
Конструктивное исполнение
Ру=0,4 МПа
Ру=6,3 МПа
Длина монтажной части, (l), мм
60
60
80
80
100
100
120
120
160
160
200
200
250
250
320
320
400
400
500
500
630
630
800
800
1000
1000
1250
1250
1600
1600
2000
2000
2500
2500
3150
3150
Материал арматуры/оболочки кабеля
12Х18Н10Т
12Х18Н10Т
10Х23Н18
10Х23Н18
10Х17Н13М2Т
10Х17Н13М2Т
ХН45Ю
ХН45Ю
AISI 321
AISI 321
Inconel 600
Inconel 600
AISI 310
AISI 310
Nicrobel
Nicrobel
Основные технические характеристики

Предназначены для измерения температуры газообразных и жидких, химически неагрессивных и агрессивных сред, не взаимодействующих с материалом термоэлектродов и не разрушающих материал защитной арматуры.

Диапазон измерения    
ТХА-07 -40…+800 °С 
ТХК-07 -40…+600 °С
ТЖК-07 -40…+750 °С
ТНН-07 -40…+1250 °С 
Класс допуска
для ТХА/ТНН/ТЖК — 1, 2;
для ТХК — 2.

Материал оболочки кабеля

Рабочий диапазон измеряемых температур, °С

AISI 321

-40...+800

Inconel 600

-40...+1000

AISI 310

-40...+1100

Nicrobel

-40...+1250

ТХА/ТХК/ТЖК/ТНН-07-01

Материал головки — сталь 12Х18Н10Т.  Защитная арматура — Ø8 и 10 мм, без штуцера. Рабочий спай изолирован. В качестве чувствительного элемента применен импортный термопарный кабель 1-го класса.  Условное давление измеряемой среды Ру=0,4 МПа. 

Один или два чувствительных элемента.

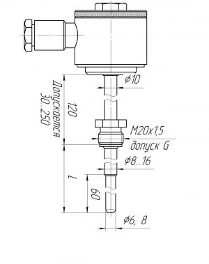
ТХА/ТХК/ТЖК/ТНН-07-02 Материал головки — сталь 12Х18Н10Т.  Защитная арматура — Ø6, 8 и 10 мм, штуцер М20х1,5 мм. Рабочий спай изолирован. В качестве чувствительного элемента применен импортный термопарный кабель 1-го класса.  Герметичны к измеряемой среде, условное давление измеряемой среды Ру=6,3 МПа. Один или два чувствительных элемента. Расстояние от соединительной головки до штуцера (длина "шейки") 120 мм.
ТХА/ТХК/ТЖК/ТНН-07-03 Материал головки — сталь 12Х18Н10Т.  Защитная арматура — Ø8 и 10 мм, штуцер М20х1,5 мм, утонение арматуры 8х60 или 6х60 мм. Рабочий спай изолирован. В качестве чувствительного элемента применен импортный термопарный кабель 1-го класса. Герметичны к измеряемой среде, условное давление измеряемой среды Ру=6,3 МПа. Один или два чувствительных элемента. Расстояние от соединительной головки до штуцера (длина "шейки") 120 мм.
ТХА/ТХК/ТЖК/ТНН-07-04 

Материал головки — сталь 12Х18Н10Т.  Защитная арматура — Ø3, 4,5 и 6 мм. Рабочий спай изолирован. В качестве чувствительного элемента применен импортный термопарный кабель 1-го класса.  Условное давление измеряемой среды Ру=0,4 МПа. 

Один или два чувствительных элемента.

ТХА/ТХК/ТЖК/ТНН-07-05 Материал головки — сталь 12Х18Н10Т.  Защитная арматура — Ø1,5, 2, 3, 4,5 и 6 мм, штуцер М20х1,5 мм. Рабочий спай изолирован. В качестве чувствительного элемента применен импортный термопарный кабель 1-го класса.  Герметичны к измеряемой среде, условное давление измеряемой среды Ру=6,3 МПа. Один или два чувствительных элемента. Расстояние от соединительной головки до штуцера (длина "шейки") 60 мм.
ТХА/ТХК/ТЖК/ТНН-07-06 Материал головки — сталь 12Х18Н10Т.  Защитная арматура — Ø1,5, 2, 3, 4,5 и 6 мм, штуцер М20х1,5 мм расположен сразу под соединительной головкой. Рабочий спай изолирован. В качестве чувствительного элемента применен импортный термопарный кабель 1-го класса.  Герметичны к измеряемой среде, условное давление измеряемой среды Ру=6,3 МПа. Один или два чувствительных элемента. 
ТХА/ТХК/ТЖК/ТНН-07-07 Материал головки — сталь 12Х18Н10Т. Защитная арматура — Ø1,5, 2, 3, 4,5, 6, 8 и 10 мм, штуцер М20х1,5 мм. Рабочий спай изолирован. В качестве чувствительного элемента применен импортный термопарный кабель 1-го класса.  Герметичны к измеряемой среде, условное давление измеряемой среды Ру=6,3 МПа. Один или два чувствительных элемента. Расстояние от соединительной головки до штуцера (длина "шейки") 120 мм.
Техническая поддержка
Николай Воронин
Руководитель отдела поддержки клиентов (термометрия)
Тех. поддержка
Написать специалисту
Заказ