ТХА/ТХК/ТНН-0193/1393, -0193/1393-01, -02; ТХА/ТХК-0193-03

ТХА/ТХК/ТНН-0193/1393, -0193/1393-01, -02; ТХА/ТХК-0193-03
ТХА/ТХК/ТНН-0193/1393, -0193/1393-01, -02; ТХА/ТХК-0193-03

Предназначены для измерения температуры газообразных и жидких, химически неагрессивных и агрессивных сред, не взаимодействующих с материалом термоэлектродов и не разрушающих материал защитной арматуры.

Отправить заявку
ГарантияДо 12 месяцев со дня ввода в эксплуатацию, но не более 18 месяцев с даты изготовления, в пределах ресурса.
Конфигурация и заказ
Выберите необходимые опции
Тип датчика
ТХА
ТХА
ТХК
ТХК
ТНН
ТНН
Температурный диапазон
-40 ... +400 ºC
-40 ... +600 ºC
-40 ... +700 ºC
-40 ... +800 ºC
-40 ... +1000 ºC
Исполнение
00
01
01
02
02
03
03
Вид взрывозащиты
Без взрывозащиты
Exia
Ex
Тип присоединения к процессу
Без крепежных элементов
Штуцер
Штуцер подпружиненный
Утонение, мм
8
8,5
Нет
Конструктивное исполнение
Ру=0,4 МПа
Ру=6,3 МПа
Длина монтажной части, (l), мм
10
10
20
20
40
40
80
80
100
100
120
120
160
160
200
200
250
250
320
320
400
400
500
500
630
630
800
800
1000
1000
1250
1250
1600
1600
2000
2000
Основные технические характеристики

Предназначены для измерения температуры газообразных и жидких, химически неагрессивных и агрессивных сред, не взаимодействующих с материалом термоэлектродов и не разрушающих материал защитной арматуры.

Диапазон измерения
ТХК/ТХК-0193-03, -0193-03А  -40...+400 °С
ТХК-0193А, -01А, -02А; -1393А, -01А, -02А -40...+600 °С
ТХА/ТНН-0193А, -01А, -02А; -1393А, -01А, -02А -40...+700 °С
ТХА/ТНН-0193, -1393  -40...+800 °С
ТХА/ТНН-0193-Т1, -01Т1, -02Т1; -1393Т1, -01Т1, -02Т1 -40...+1000 °С
Класс допуска чувствительного элемента
для ТХА, ТНН — 1, 2;
для ТХК — 2.
В зависимости от материала защитной арматуры рекомендуются следующие измеряемые среды:

Материал защитной арматуры

Измеряемая среда

Сталь 12Х18Н10Т

Окислительные газовые среды, газовые потоки, разбавленные растворы азотной, уксусной кислот, щелочей и солей. При температуре до +800 °С — неподвижные окислительные газовые среды, при температуре до +600 °С — газовые потоки, при наличии механических нагрузок. Не рекомендуются серосодержащие среды, а также соляная, серная, плавиковая, горячая фосфорная и кипящие органические кислоты. 

Сталь 08Х13 (А)

Слабо агрессивные среды, открытый воздух, атмосферные осадки, пресная вода, водяной пар, водные растворы солей и органических кислот при комнатной температуре. Не рекомендуются среды, содержащие углерод.

Сталь устойчива к воздействию ударных нагрузок. Склонна к отпускной хрупкости при температуре +400...+500 °С.

Сталь

10Х23Н18 (Т1)

Установки для конверсии метана, пиролиза. Не рекомендуются температуры +600…+800 °С (из-за склонности стали к отпускной хрупкости).

Сталь — немагнитная, не устойчива к серосодержащим средам. 

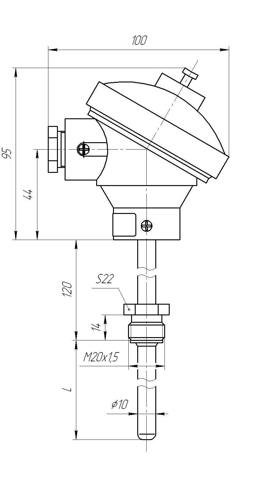
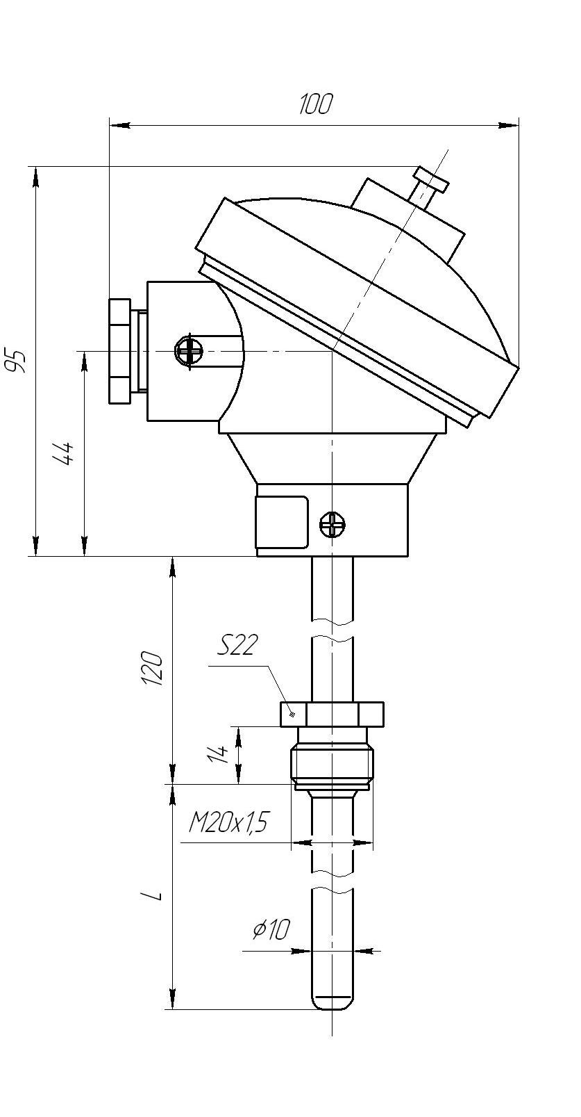
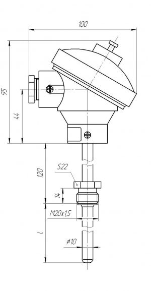
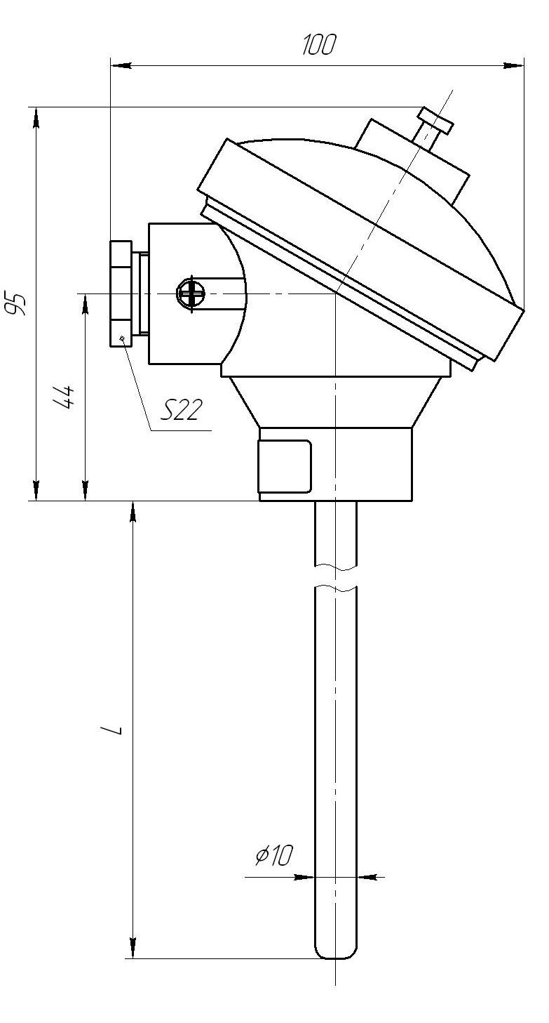
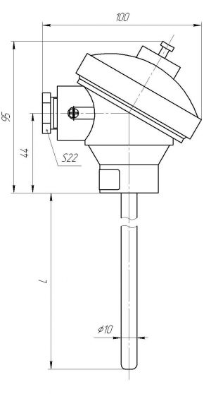
ТХА/ТХК/ТНН-0193

Материал головки — термостойкая пластмасса. Защитная арматура — Ø10 мм, без штуцера. Термоэлектроды Ø1,2 мм. Условное давление измеряемой среды Ру=0,4 МПа.  Один чувствительный элемент. Рабочий спай изолирован.

ТХА/ТХК/ТНН-1393  То же, что ТХА/ТХК/ТНН-0193К, но два чувствительных элемента.
ТХА/ТХК/ТНН-0193-01 Материал головки — термостойкая пластмасса. Защитная арматура — Ø10 мм, штуцер подвижный М20х1,5. Термоэлектроды Ø1,2 мм. Условное давление измеряемой среды Ру=6,3 МПа. Один чувствительный элемент. Рабочий спай изолирован.
ТХА/ТХК/ТНН-1393К-01 То же, что ТХА/ТХК/ТНН-0193К-01, но два чувствительных элемента.
ТХА/ТХК/ТНН-0193-02 Материал головки — термостойкая пластмасса. Защитная арматура — Ø10 мм, штуцер подвижный М20х1,5 и утонением 8х60 мм. Термоэлектроды Ø1,2 мм. Условное давление измеряемой среды Ру=6,3 МПа. Один  чувствительный элемент. Рабочий спай изолирован только для ТНН.
ТХА/ТХК/ТНН-1393К-02 То же, что ТХА/ТХК/ТНН-0193К-02, но два чувствительных элемента.
ТХА/ТХК-0193-03  Материал головки — термостойкая пластмасса. Защитная арматура — Ø10 мм, штуцер подвижный М20х1,5 и утонением 8х2 мм. Предусмотрена пружина для обеспечения надежного контакта с измеряемой поверхностью. Термоэлектроды Ø1,2 мм. Условное давление измеряемой среды Ру=6,3 МПа. Один чувствительный элемент. Рабочий спай не изолирован.
Техническая поддержка
Николай Воронин
Руководитель отдела поддержки клиентов (термометрия)
Тех. поддержка
Написать специалисту
Заказ