ТХА/ТХК-0595, -0595-01, -02

ТХА/ТХК-0595, -0595-01, -02
ТХА/ТХК-0595, -0595-01, -02

Предназначены для измерения температуры газообразных и жидких сред во взрывоопасных зонах. Маркировка взрывозащиты - "1ExdllCT5X" по ГОСТ 12.2.020. 

Монтажные комплекты для термопреобразователей серии ТХА/ТХК -0595, -0595-01, -0595-02

Отправить заявку
ГарантияДо 12 месяцев со дня ввода в эксплуатацию, но не более 18 месяцев с даты изготовления, в пределах ресурса.
Конфигурация и заказ
Выберите необходимые опции
Тип датчика
ТХА
ТХА
ТХК
ТХК
Исполнение
00
01
01
02
02
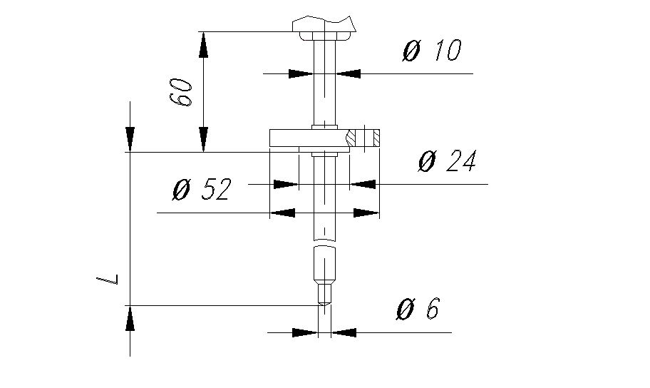
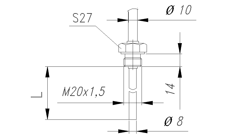
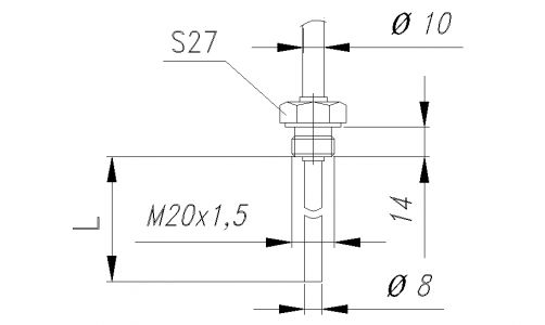
Длина монтажной части, (l), мм
50
50
60
60
80
80
100
100
120
120
160
160
200
200
250
250
320
320
400
400
500
500
1250
1250
2000
2000
3000
3000
Материал арматуры/оболочки кабеля
10Х17Н13М2Т
10Х17Н13М2Т
12Х18Н10Т
12Х18Н10Т
Тип присоединения к процессу
Без крепёжных элементов
Штуцер М20х1,5
Фланец d 52 мм
Основные технические характеристики

Предназначены для измерения температуры газообразных и жидких сред во взрывоопасных зонах или помещениях, где могут содержаться аммиак, азотоводородная смесь, природный газ и продукты его сгорания, углекислый газ, конвертированный газ и его компоненты, моноэтаноламиновый раствор с агрессивными примесями сероводорода и сернистого ангидрида в допустимых пределах по ГОСТ 12.1.005. Кратковременно (до 4 часов) допускается эксплуатация при концентрации примеси сероводорода до 100 мг/м3 или сернистого ангидрида до 200 мг/м3 (область применения — нефтяная, нефтехимическая, газовая промышленность и другое).

Диапазон измеряемых температур
ТХК 0...+600 °С (t ном.=+450°С)
ТХА 0...+800 °С (t ном.=+600°С)
Класс допуска
для ТХА — 1, 2 (по ГОСТ 6616);
для ТХК —  2 (по ГОСТ 6616).

ТХА/ТХК-0595, -0595-01, -02 Взрывозащищенное исполнение. Вид защиты — "взрывонепроницаемая оболочка". Маркировка взрывозащиты — "1ExdllCT5X" по ГОСТ 12.2.020. Защитная арматура — без штуцера, материал — сталь 10Х17Н13М2Т или 12Х18Н10Т 8 мм, материал головки — алюминиевый сплав. Один или два чувствительных элемента. Термоэлектроды Ø0,5 мм. Рабочий спай изолирован. Условное давление измеряемой среды Ру=1 МПа.
Техническая поддержка
Николай Воронин
Руководитель отдела поддержки клиентов (термометрия)
Тех. поддержка
Написать специалисту
Заказ