ТХА/ТХК/ТЖК/ТНН-0192К/1192К, -0192КМ1/1192КМ1-Т, -Т1, -Т2, -Т3, -Т4

ТХА/ТХК/ТЖК/ТНН-0192К/1192К, -0192КМ1/1192КМ1-Т, -Т1, -Т2, -Т3, -Т4
ТХА/ТХК/ТЖК/ТНН-0192К/1192К, -0192КМ1/1192КМ1-Т, -Т1, -Т2, -Т3, -Т4

Традиционные термопары диаметром 20 и 16 мм, с кабельной вставкой

Отправить заявку
ГарантияДо 12 месяцев со дня ввода в эксплуатацию, но не более 18 месяцев с даты изготовления, в пределах ресурса.
Конфигурация и заказ
Выберите необходимые опции
Тип датчика
ТХА
ТХА
ТХК
ТХК
ТЖК
ТЖК
ТНН
ТНН
Температурный диапазон
-40 ... +600 ºC
-40 ... +750 ºC
-40 ... +800 ºC
-40 ... +900 ºC
-40 ... +1000 ºC
-40 ... +1100 ºC
-40 ... +1250 ºC
Фиксация крышки корпуса
Защёлка
Резьбовая
Тип присоединения к процессу
Без крепежных элементов
0192К
Штуцер
1192К
Материал арматуры/оболочки кабеля
12Х18Н10Т
15Х25Т
Т
10Х23Н18
Т1
08Х20Н14С2
Т2
ХН45Ю
Т3
10Х17Н13М2Т
Т4
Вид взрывозащиты
Без взрывозащиты
Exia
Ex
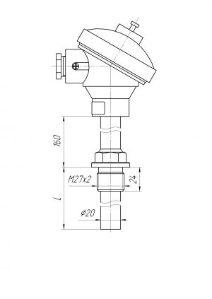
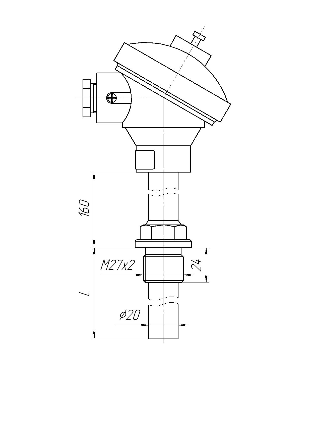
Длина монтажной части, (l), мм
160
160
200
200
250
250
320
320
400
400
500
500
630
630
800
800
1000
1000
1250
1250
1600
1600
2000
2000
2500
2500
3150
3150
Основные технические характеристики
Преобразователи термоэлектрические  предназначены для измерения температуры газо­образных или жидких химически неагрессивных, а также агрессивных сред, не взаимодейст­вующих с материалом термоэлектродов и не разрушающих материал защитной арматуры.
ТП могут иметь исполнения:
- невзрывозащищенное;
- взрывозащищенное с видом защиты «искробезопасная электрическая цепь».
ТП взрывозащищенного исполнения имеют маркировку по взрывозащите  0ЕхiaIICТ6Х.
Диапазон измерения                                                                          
ТХК-0192К, -КМ1; -1192К, -КМ1     -40…+600 °С
ТЖК-0192К, -КТ...-КТ4 -КМ1, -КТМ1...-КТ4М1; -1192К, 
-КТ...-КТ4 -КМ1, -КТМ1...-КТ4М1
-40…+750 °С
ТХА-0192К, -КМ1; -1192К, -КМ1  -40…+800 °С 
ТХА-0192КТ2, -КТ4, -КТ2М1,  -КТ4М1; -1192КТ2, -КТ4, -КТ2М1,  -КТ4М1 -40…+900 °С 
ТХА/ТНН-0192КТ, -КТ1, -КТМ1, -КТ1М1; -1192КТ, -КТ1, -КТМ1, -КТ1М1   -40…+1000 °С 
ТХА-0192КТ3, -КТ3М1; -1192КТ3, -КТ3М1         -40…+1100 °С
Класс допуска
для ТХА/ТНН/ТЖК — 1, 2;
для ТХК — 2.
В зависимости от материала защитной арматуры рекомендуются следующие измеряемые среды:

Материал защитной арматуры

Измеряемая среда

Сталь

12Х18Н10Т

Окислительные газовые среды, газовые потоки, разбавленные растворы азотной, уксусной кислот, щелочей и солей.

При температуре до +800 ºС — неподвижные окислительные газовые среды, при температуре до +600 ºС — газовые потоки, при наличии механических нагрузок. Не рекомендуются серосодержащие среды, а также соляная, серная, плавиковая, горячая фосфорная и кипящие органические кислоты. 

Сталь

15Х25Т (Т)

Газовые и жидкостные агрессивные среды, установки пиролиза. Топочные газы. Не рекомендуется воздействие ударных нагрузок, и температуры +400…+700 °С (из-за склонности стали к отпускной хрупкости).

Сталь — магнитная и устойчива к серосодержащим средам.

Сталь

10Х23Н18 (Т1)

Установки для конверсии метана, пиролиза. Не рекомендуются температуры +600…+800 ºС (из-за склонности стали к отпускной хрупкости).

Сталь — немагнитная, не устойчива к серосодержащим средам.

Сталь 08Х20Н14С2(Т2)

Науглероживающие среды, печи цементации.

Сплав ХН45Ю (Т3)

Неподвижная окислительная газовая среда, газовые потоки, наличие механических нагрузок.

Сталь

10Х17Н13М2Т (Т4)

Агрессивная кислотная среда, включая действие растворов кипящей фосфорной, серной, 10%-ной уксусной  кислоты и сернокислые среды до температуры +400 ºС.

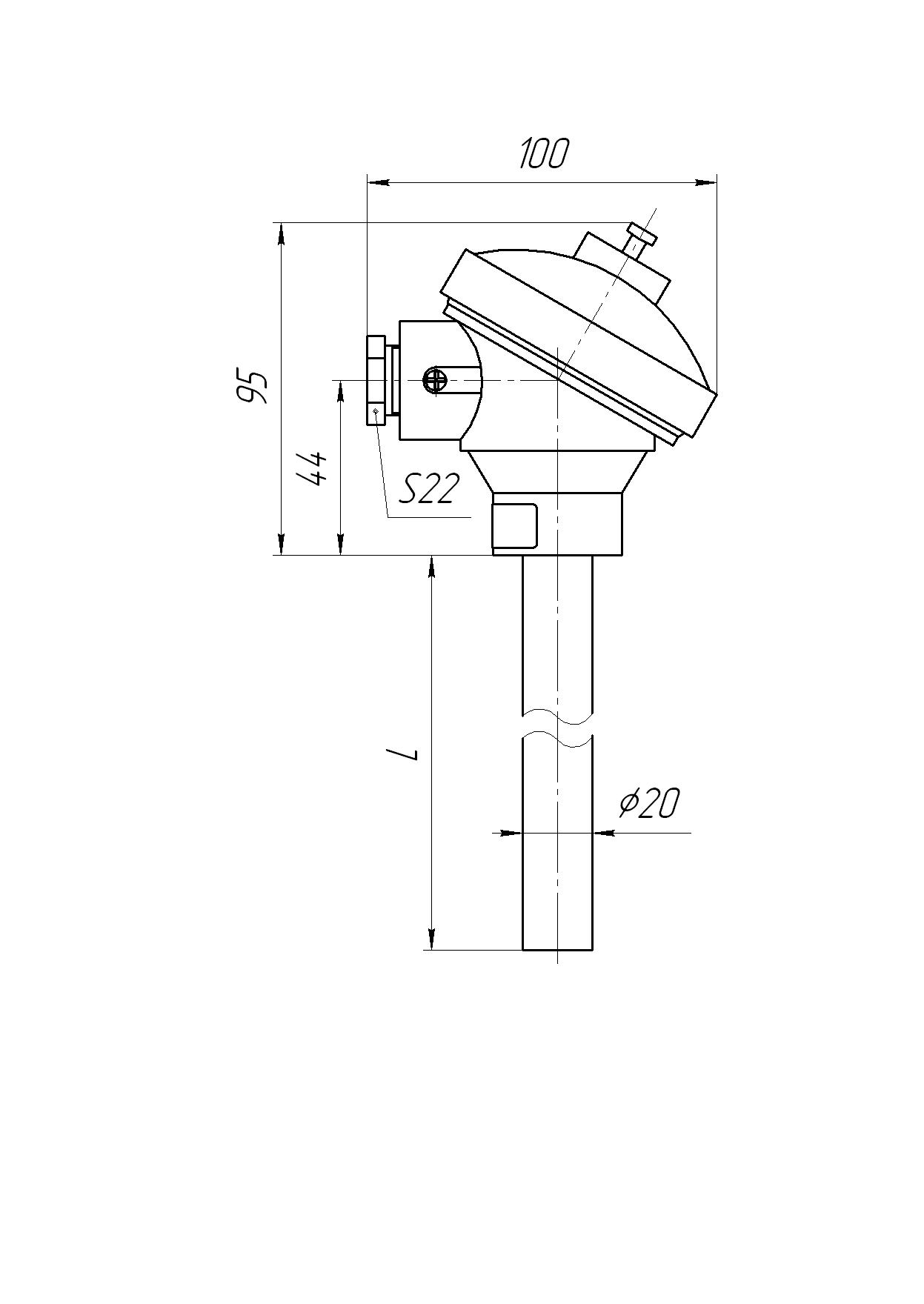
ТХА/ТХК/ТЖК/ТНН-0192К  Материал головки — алюминиевый сплав (BUZ-L на защелке). Защитная арматура Ø20 мм, без штуцера. Рабочий спай изолирован. Условное давление измеряемой среды Ру=0,4 МПа. 
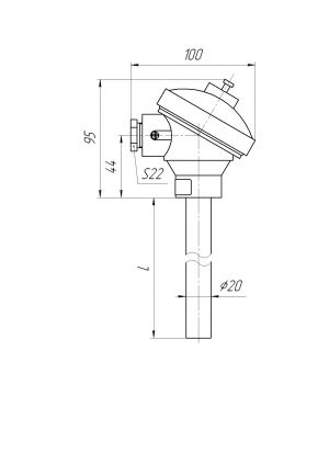
ТХА/ТХК/ТЖК/ТНН-0192КМ1 Материал головки — алюминиевый сплав (KNA на резьбе). Защитная арматура Ø16 мм, без штуцера. Рабочий спай изолирован. Условное давление измеряемой среды Ру=0,4 МПа. 

ТХА/ТХК/ТЖК/ТНН-1192К
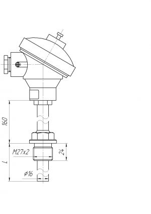
Материал головки — алюминиевый сплав (BUZ-L на защелке). Защитная арматура Ø20 мм, со штуцером М27х2. Рабочий спай изолирован. Условное давление измеряемой среды Ру=6,3 МПа.

ТХА/ТХК/ТЖК/ТНН-1192КМ1
Материал головки — алюминиевый сплав (KNA на резьбе). Защитная арматура Ø16 мм, со штуцером М27х2. Рабочий спай изолирован. Условное давление измеряемой среды Ру=6,3 МПа.
Техническая поддержка
Николай Воронин
Руководитель отдела поддержки клиентов (термометрия)
Тех. поддержка
Написать специалисту
Заказ