ТХА-1292, -1292-01, -02, -03, -04; ТХА-1592, -1592-01, -02

ТХА-1292, -1292-01, -02, -03, -04; ТХА-1592, -1592-01, -02
ТХА-1292, -1292-01, -02, -03, -04; ТХА-1592, -1592-01, -02

Высокотемпературные термопары с диаметром 20 и 35, утонением до 5,3, 7 и 8 мм; с кабельной вставкой.

Отправить заявку
ГарантияДо 12 месяцев со дня ввода в эксплуатацию, но не более 18 месяцев с даты изготовления, в пределах ресурса.
Конфигурация и заказ
Выберите необходимые опции
Исполнение
00
01
01
02
02
03
03
04
04
Измеряемая среда
Продукты сгорания топлива
Перегретый пар
Вид взрывозащиты
Без взрывозащиты
Exia
Ex
Материал корпуса
Алюминиевый сплав
Без корпуса
Фиксация крышки корпуса
Резьбовая
Без корпуса
Конструктивное исполнение
Ру=0,4 МПа
Ру=6,3 МПа
Ру=25,5 МПа
Тип присоединения к процессу
Без крепежных элементов
Штуцер М33х2
Коническая гильза
Длина монтажной части, (l), мм
80
80
100
100
120
120
160
160
200
200
250
250
320
320
400
400
500
500
630
630
800
800
Спай чувствительного элемента
Изолированный
И
Неизолированный
Основные технические характеристики

Преобразователи термоэлектрические данного  типа, преимущественно используются в газотурбинных и паротурбинных установках на объектах теплоэнергетики для измерения контактным способом циклически меняющихся и постоянных температур.

Диапазон измерения                                                     
ТХА-1292, -01, -02,  ТХА-1592, -01, -02      0...+900°С 
ТХА-1292-03, -04    0...+600°С 
Класс допуска
для ТХА/ТНН — 1,2 (по ГОСТ 6616).
Исполнения термопреобразователей Измеряемая среда
ТХА-1292, ТХА-1292-01 ТХА-1292-02, ТХА-1292-03, ТХА-1592, ТХА-1592-01, ТХА-1592-02 Продукты сгорания жидкого или газообразного топлива в пульсирующем потоке, движущемся со скоростью до 170 м/с с давлением до 3,0 МПа, скорость изменения температуры измеряемой среды до 150 °С/мин.
ТХА-1292-03, -04 Перегретый пар в котлах ТЭЦ, в пульсирующем потоке со скоростью до 60 м/с при давлении до 25,5 МПа.
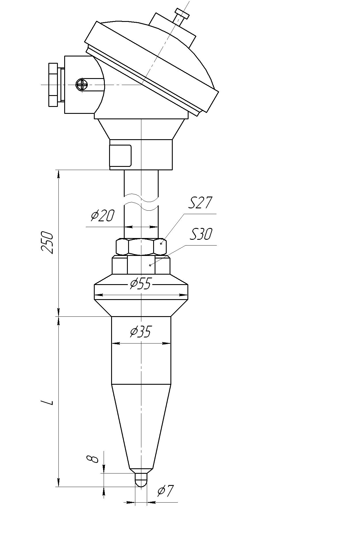
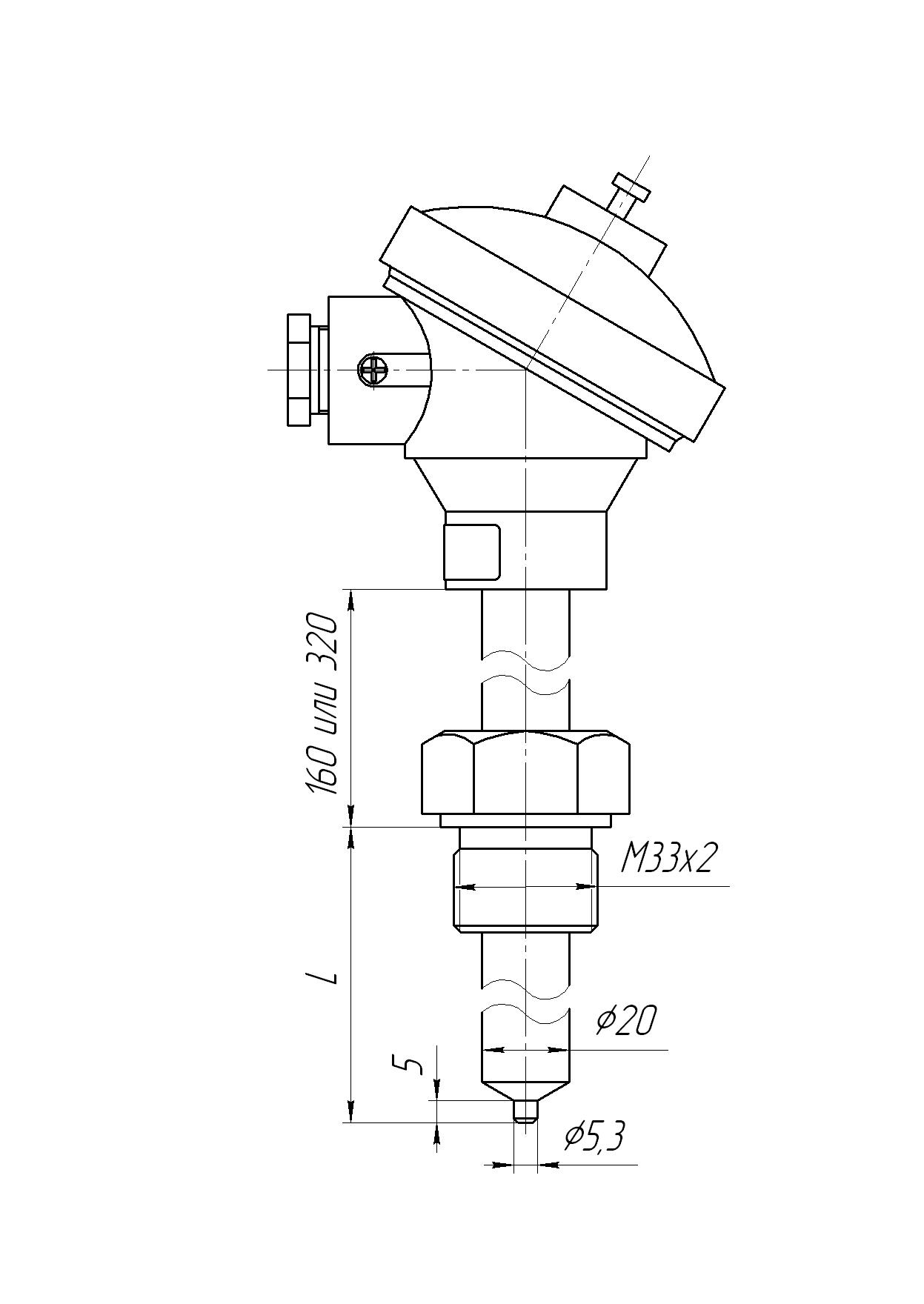
ТХА/ТНН-1292 Защитная арматура — без штуцера, материал — сталь 15Х25Т, Ø20 мм с утонением до 5,3 мм, материал головки — алюминиевый сплав. Рабочий спай изолирован. Условное давление измеряемой среды Ру=0,4 МПа. Один чувствительный элемент.
ТХА/ТНН-1592

Защитная арматура — без штуцера, материал — сталь 15Х25ТЮ, Ø20 мм с утонением до 5,3 мм, материал головки — алюминиевый сплав. Рабочий спай изолирован. Условное давление измеряемой среды Ру=0,4 МПа.  Два чувствительных элемента.

ТХА/ТНН-1292-01

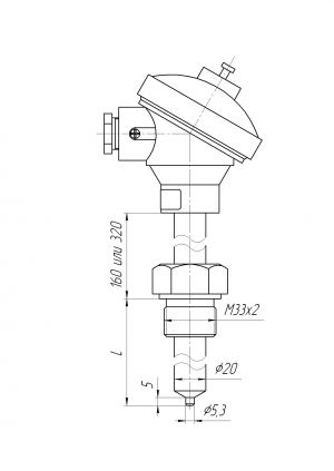
Защитная арматура — с неподвижным штуцером М33х2, расстояние от штуцера до корпуса L1=160 мм. Материал — сталь 15Х25Т,  Ø20 мм с утонением до 5,3 мм, материал головки — алюминиевый сплав. В качестве чувствительного элемента применен импортный термопарный кабель 1-го класса. Рабочий спай изолирован. Условное давление измеряемой среды Ру = 6,3 МПа. 

Один чувствительный элемент.

ТХА/ТНН-1592-01 То же что ТХА/ТНН-1292-01, но два чувствительных элемента.
ТХА/ТНН-1292-02

Защитная арматура — с неподвижным штуцером М33х2, расстояние от штуцера до корпуса L1=320 мм. Материал — сталь 15Х25Т  Ø20 мм с утонением до 5,3 мм, материал головки — алюминиевый сплав. В качестве чувствительного элемента применен импортный термопарный кабель 1-го класса. Рабочий спай изолирован. Условное давление измеряемой среды Ру = 6,3 МПа. 

Один чувствительный элемент.

ТХА/ТНН-1592-02 То же что ТХА/ТНН-1292-02, но два чувствительных элемента.
ТХА-1292-03 Защитная арматура — без штуцера, с конусообразным наконечником Ø35 мм, материал — сталь 12Х1МФ с утонением до 7 мм, материал головки — алюминиевый сплав. В качестве чувствительного элемента применен импортный термопарный кабель 1-го класса. Рабочий спай изолирован. Условное давление измеряемой среды Ру = 25,5 МПа. Один чувствительный элемент.
ТХА-1292-04  Защитная арматура — без штуцера, с конусообразным наконечником Ø35 мм, материал — сталь 12Х1МФ, без головки, труба Ø20 мм — сталь 12Х18Н10Т. Крепление к контролируемому агрегату — сваркой до 55 мм. Сменная термометрическая вставка — импортный термопарный кабель 1 класса длиной 20 или 30 метров. Рабочий спай изолирован. Условное давление измеряемой среды Ру=25,5 МПа.

ТП могут иметь исполнения:
— невзрывозащищенное;
— взрывозащищенное с видом защиты «искробезопасная электрическая цепь».

ТП во взрывозащищенном исполнении с добавлением в их шифре «Ех» соответствуют требованиям ГОСТ Р 51330.10-99. ТП взрывозащищенного исполнения имеют маркировку по взрывозащите «0 Ехia IIC Т6 Х».

Техническая поддержка
Николай Воронин
Руководитель отдела поддержки клиентов (термометрия)
Тех. поддержка
Написать специалисту
Заказ