ТХА-0496, 0496-01, -02, -03, -С

ТХА-0496, 0496-01, -02, -03, -С
ТХА-0496, 0496-01, -02, -03, -С

Высокотемпературные датчики с керамическим или корундовым чехлом. Конструкция разборная с транспортным чехлом. 

Отправить заявку
ГарантияДо 12 месяцев со дня ввода в эксплуатацию, но не более 18 месяцев с даты изготовления, в пределах ресурса.
Конфигурация и заказ
Выберите необходимые опции
Исполнение
00
01
01
02
02
03
03
С
С
Измеряемая среда
Газ в обжиговых печах
Расплавы меди
Вид взрывозащиты
Без взрывозащиты
Exia
Ex
Конструктивное исполнение
Арматура прямая
Арматура изогнута под углом 90°
Тип присоединения к процессу
Без крепежных элементов
Фланец
Материал погружаемой части
Керамика
Карбид кремния
Длина монтажной части, (l), мм
500
500
800
800
1000
1000
1250
1250
1600
1600
2000
2000
Длина преобразователя, (L), мм
300
(300)
400
(400)
600
(600)
800
(800)
900
(900)
Основные технические характеристики

Предназначены для измерения температуры газовых сред в обжиговых печах огнеупорного производства, а также расплавов меди в спокойном состоянии.

Диапазон измерения
0...+ 1200°С. 
Класс допуска
для ТХА — 1, 2 (по ГОСТ 6616).
Преобразователи термоэлектрические типа ТХА-0496 предназначены для измерения температуры в следующих средах:

Исполнение

Измеряемая среда

ТХА-0496, ТХА-0496-01, ТХА-0496-02, ТХА-0496-03

газовые среды в обжиговых печах огнеупорного производства

ТХА-0496-02, ТХА-0496-03, ТХА-0496С

расплавы меди в спокойном состоянии

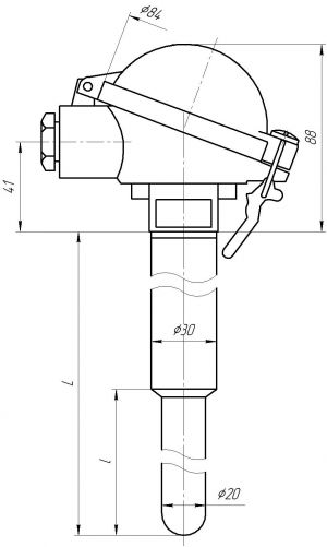
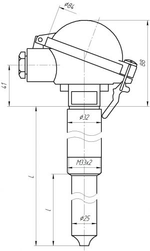
ТХА-0496 Защитная арматура — без штуцера, материал — сталь 15Х25Т или сталь ХН45Ю, Ø30 мм, погружаемая часть — керамика, Ø20 мм, материал головки — алюминиевый сплав. Конструкция разборная с транспортным чехлом. Негерметичны к измеряемой среде. Термоэлектроды Ø3,2 мм. Один чувствительный элемент.
ТХА-0496-01 Защитная арматура — без штуцера, материал — сталь 15Х25Т или сталь ХН45Ю, Ø30 мм, погружаемая часть — керамика, Ø20 мм, материал головки — алюминиевый сплав. Конструкция разборная с транспортным чехлом. Герметичны к измеряемой среде. Термоэлектроды Ø3,2 мм. Один чувствительный элемент.
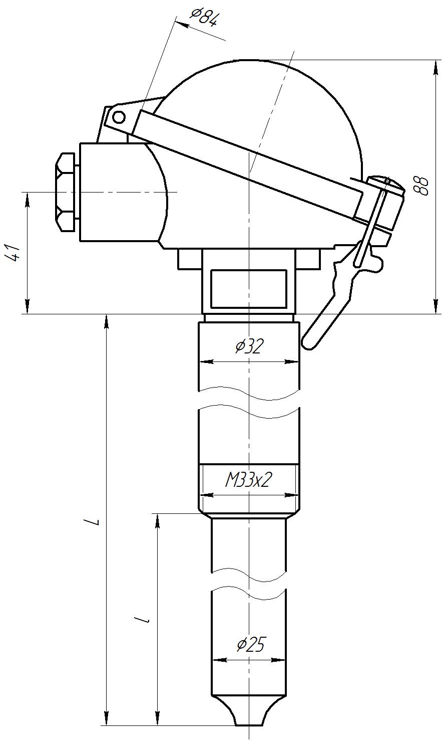
ТХА-0496-02 Защитная арматура — без штуцера, материал — сталь 15Х25Т или сталь ХН45Ю, Ø32 мм, погружаемая часть — карбид кремния, Ø25 мм, материал головки — алюминиевый сплав. Конструкция разборная с транспортным чехлом. Негерметичны к измеряемой среде. Термоэлектроды Ø3,2 мм. Один чувствительный элемент.
ТХА-0496-03 Защитная арматура — без штуцера, материал — сталь 15Х25Т или сталь ХН45Ю, Ø32 мм, погружаемая часть — карбид кремния, Ø25 мм, материал головки — алюминиевый сплав. Конструкция разборная с транспортным чехлом. Герметичны к измеряемой среде. Термоэлектроды Ø3,2 мм. Один чувствительный элемент.
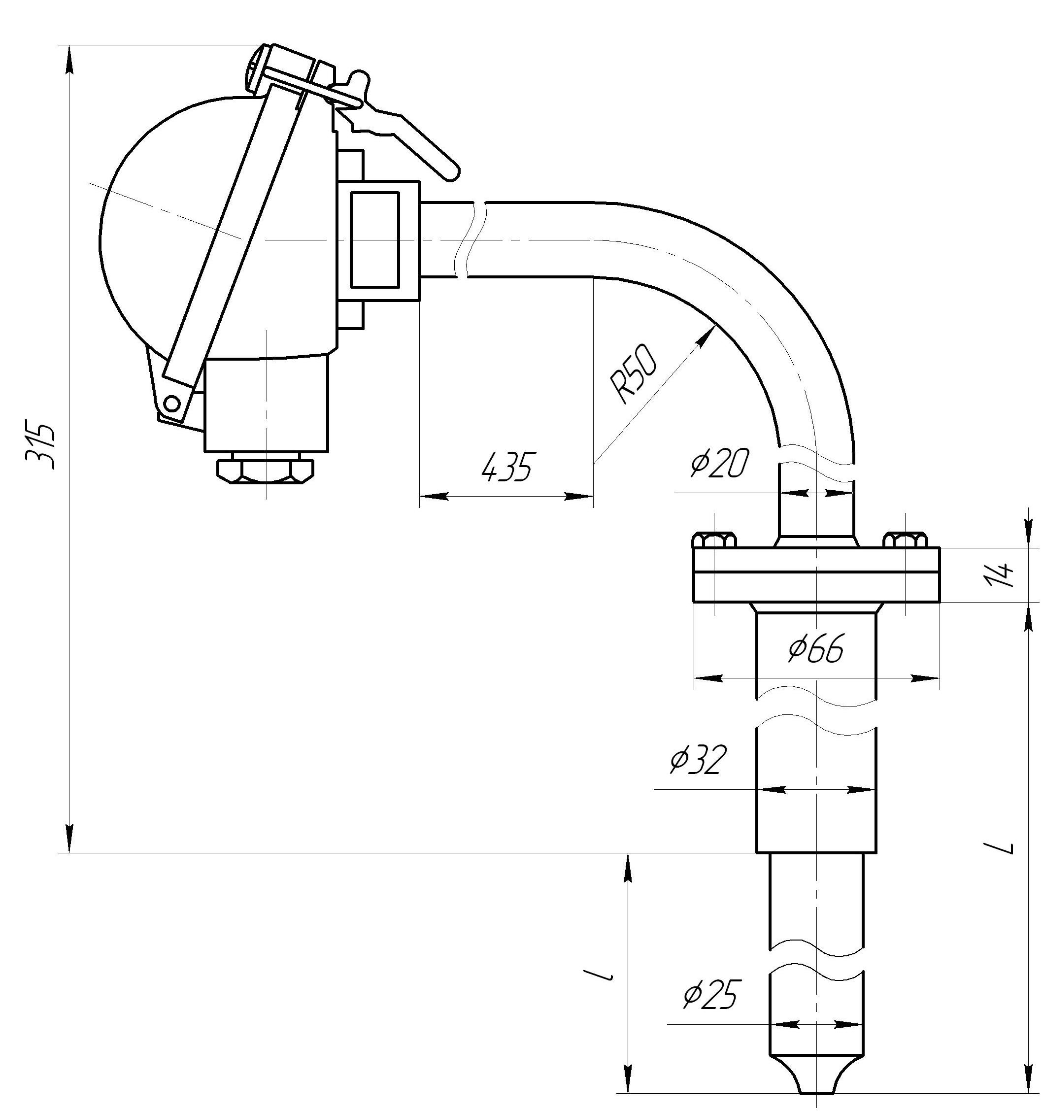
ТХА-0496-С Защитная арматура — без штуцера,  арматура изогнута под углом 90°, материал — сталь 15Х25Т, Ø32 мм. Погружаемая часть — карбид кремния, Ø25 мм, материал головки — алюминиевый сплав. Конструкция разборная с транспортным чехлом. Негерметичны к измеряемой среде. Термоэлектроды Ø1,2 мм. Один чувствительный элемент.
Техническая поддержка
Николай Воронин
Руководитель отдела поддержки клиентов (термометрия)
Тех. поддержка
Написать специалисту
Заказ