ТХА-0495/1395, -01, -02, -03

ТХА-0495/1395, -01, -02, -03
ТХА-0495/1395, -01, -02, -03

Высокотемпературные датчики диаметром 20 мм для агрессивных сред.

Отправить заявку
ГарантияДо 12 месяцев со дня ввода в эксплуатацию, но не более 18 месяцев с даты изготовления, в пределах ресурса.
Основные технические характеристики

Предназначены для измерения температуры агрессивных сред в доменном производстве: колошниковых и периферийных газов, кладки шахты доменной печи (область применения - металлургия и другое).

Диапазон измерения:
ТХА-0495Т; -1395Т  -40...+1000°С
ТХА-0495ТЗ;  -1395Т3 -40...+1100°С
Класс допуска:
для ТХА - 1, 2 (по ГОСТ 6616).
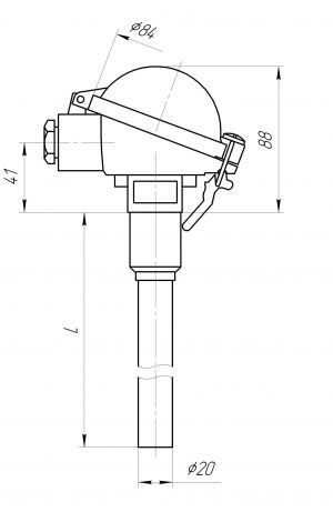
ТХА-0495 Защитная арматура — без штуцера, материал — сталь 15Х25Т (Т) или ХН45Ю (Т3), Ø20 мм, материал головки — алюминиевый сплав. Термоэлектроды Ø1,2 мм. Рабочий спай изолирован. К измеряемой среде герметичны, герметизация осуществляется уплотняющей прокладкой из резиновой смеси ФКС. Ру=1,6 МПа. Один чувствительный элемент. ТХА-1395 два чувствительных элемента. 
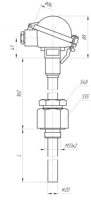
ТХА-0495-01 Защитная арматура — со штуцером М33х2, материал — сталь 15Х25Т (Т) или ХН45Ю (Т3), Ø20 мм, материал головки — алюминиевый сплав. Термоэлектроды Ø3,2 мм. Рабочий спай изолирован. К измеряемой среде герметичны, герметизация осуществляется уплотняющей прокладкой из резиновой смеси ФКС. Ру=1,6 МПа. Один чувствительный элемент. ТХА-1395-01 два чувствительных элемента. 
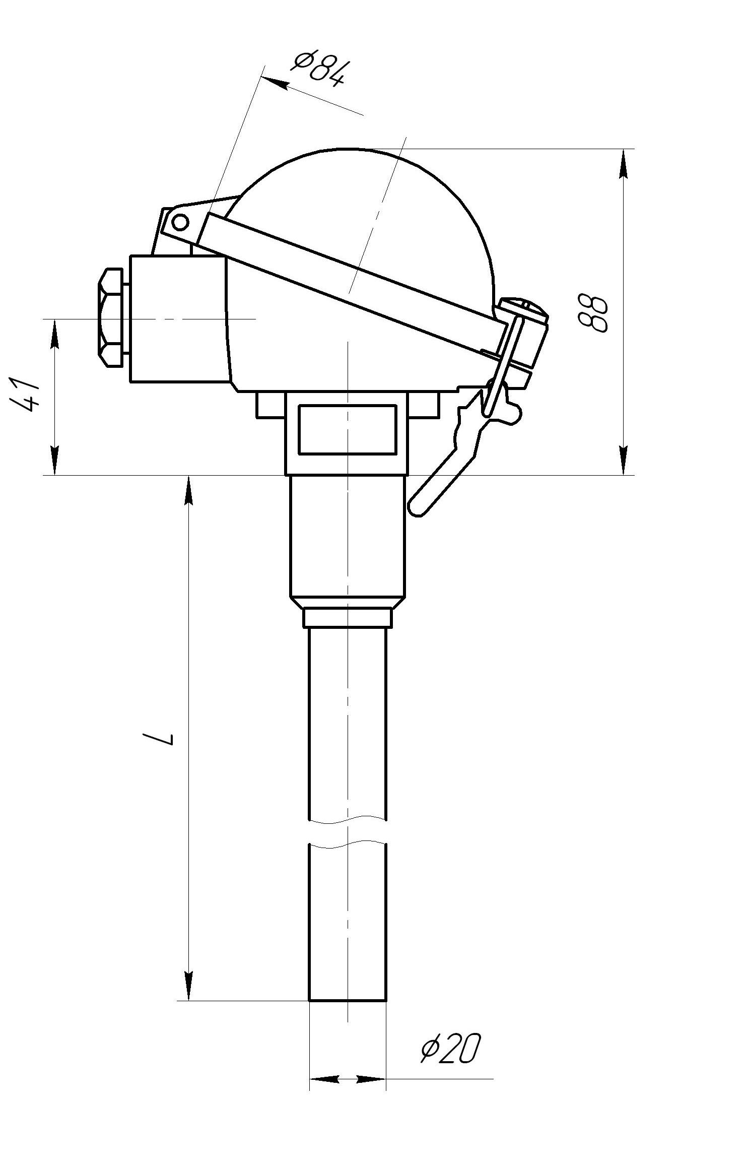
ТХА-0495-02
Защитная арматура — с коническим соединением, материал — сталь 15Х25Т (Т) или ХН45Ю (Т3), Ø20 мм, материал головки — алюминиевый сплав. Термоэлектроды Ø3,2 мм. Рабочий спай изолирован. К измеряемой среде герметичны, герметизация осуществляется уплотняющей прокладкой из резиновой смеси ФКС. Ру=1,6 МПа. Один чувствительный элемент. ТХА-1395-02 два чувствительных элемента. 
Техническая поддержка
Николай Воронин
Руководитель отдела поддержки клиентов (термометрия)
Тех. поддержка
Написать специалисту
Заказ