ТХА-0194, -0194-01, -02, -03, -05, -06, -07

ТХА-0194, -0194-01, -02, -03, -05, -06, -07
ТХА-0194, -0194-01, -02, -03, -05, -06, -07

Термопары с нестандартным штуцерным креплением к процессу.

Отправить заявку
ГарантияДо 12 месяцев со дня ввода в эксплуатацию, но не более 18 месяцев с даты изготовления, в пределах ресурса.
Основные технические характеристики

Предназначены для измерения температуры продуктов сгорания в газоперекачивающих агрегатах ГПА-25/76, импортных агрегатах компрессорных станций магистральных газопроводов при скорости потока перед защитным экраном рабочего конца датчика до 70 м/с (область применения - теплоэнергетика, газовая промышленность и др.)

Диапазон измерения

0...+600 °C 

Класс допуска

для ТХА - 1, 2 (по ГОСТ 6616).

ТХА-0194     Термопара без корпуса, с кабельным выводом длиной 360 мм, защитная арматура — с конической резьбой К1/2 по ГОСТ 6111-52, материал — сталь 12Х18Н10Т, рабочий конец Ø2,5 мм. Термоэлектроды Ø0,5 мм. Рабочий спай не изолирован. Условное давление измеряемой среды Ру=4,0 МПа.
ТХА-0194-01 Термопара без корпуса, с кабельным выводом длиной 360 мм, защитная арматура — с конической резьбой К1/2 по ГОСТ 6111-52, материал — сталь 12Х18Н10Т, рабочий конец Ø2,5 мм. Термоэлектроды Ø1,5 мм. Рабочий спай изолирован. Условное давление измеряемой среды Ру=4,0 МПа.
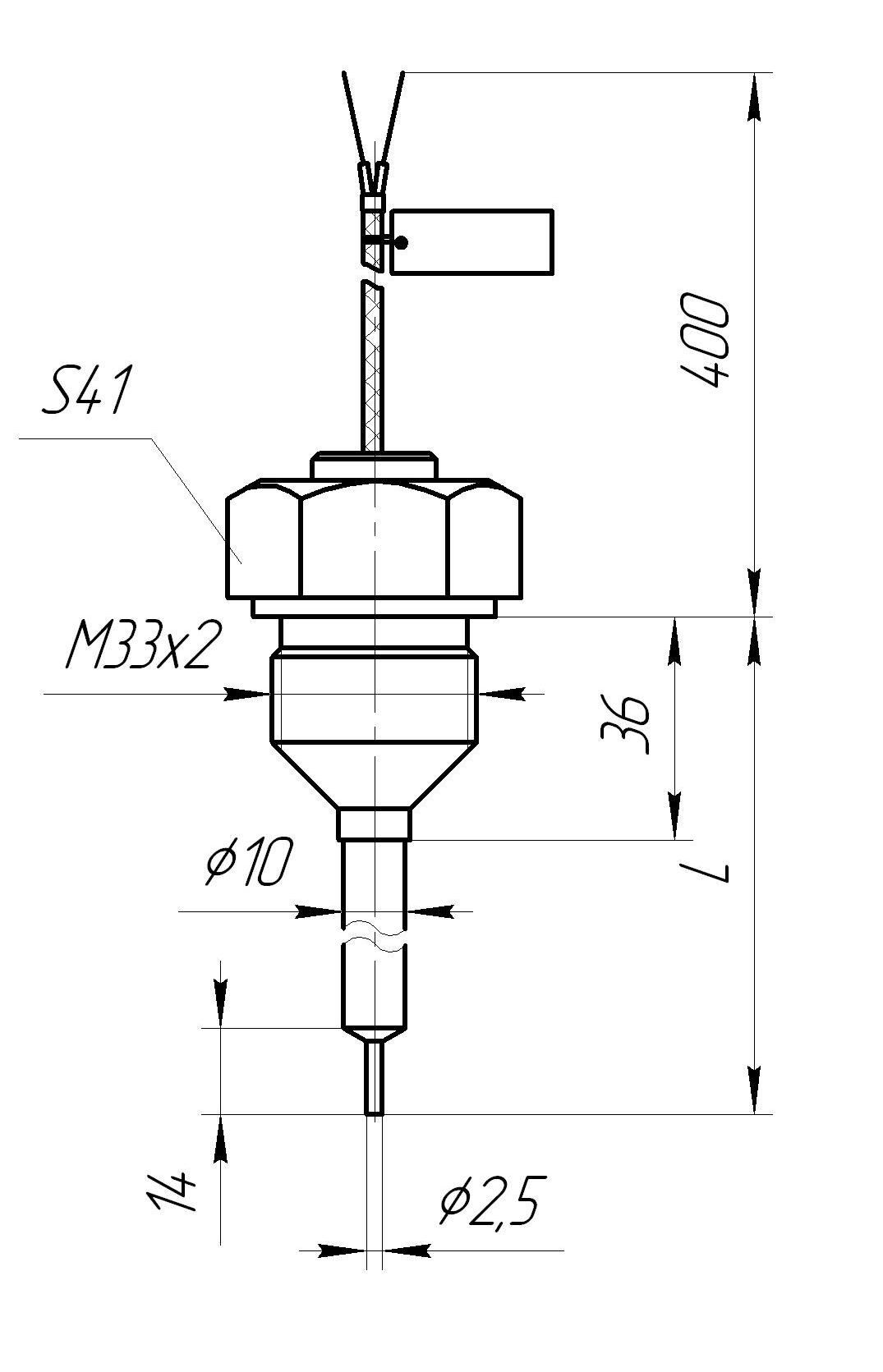
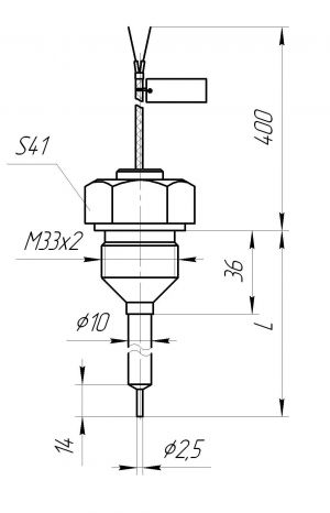
ТХА-0194-02 Термопара без корпуса, с кабельным выводом длиной 360 мм, защитная арматура — со штуцером М33х2, материал — сталь 12Х18Н10Т, рабочий конец Ø2,5 мм. Термоэлектроды Ø0,5 мм. Рабочий спай не изолирован. Условное давление измеряемой среды Ру=4,0 МПа.
ТХА-0194-03 Термопара без корпуса, с кабельным выводом длиной 360 мм, защитная арматура — со штуцером М33х2, материал — сталь 12Х18Н10Т, рабочий конец Ø2,5 мм. Термоэлектроды Ø1,5 мм. Рабочий спай изолирован. Условное давление измеряемой среды Ру=4,0 МПа.
ТХА-0194-04 Корпусная термопара — с конической резьбой К1/2 по ГОСТ 6111-52, материал — сталь 12Х18Н10Т, материал головки — алюминиевый сплав, рабочий конец Ø2,5 мм. Термоэлектроды Ø0,5 мм. Рабочий спай не изолирован. Условное давление измеряемой среды Ру=4,0 МПа.
ТХА-0194-05 Корпусная термопара — с конической резьбой К1/2 по ГОСТ 6111-52, материал — сталь 12Х18Н10Т, материал головки — алюминиевый сплав, рабочий конец Ø2,5 мм. Термоэлектроды Ø1,5 мм. Рабочий спай изолирован. Условное давление измеряемой среды Ру=4,0 МПа.
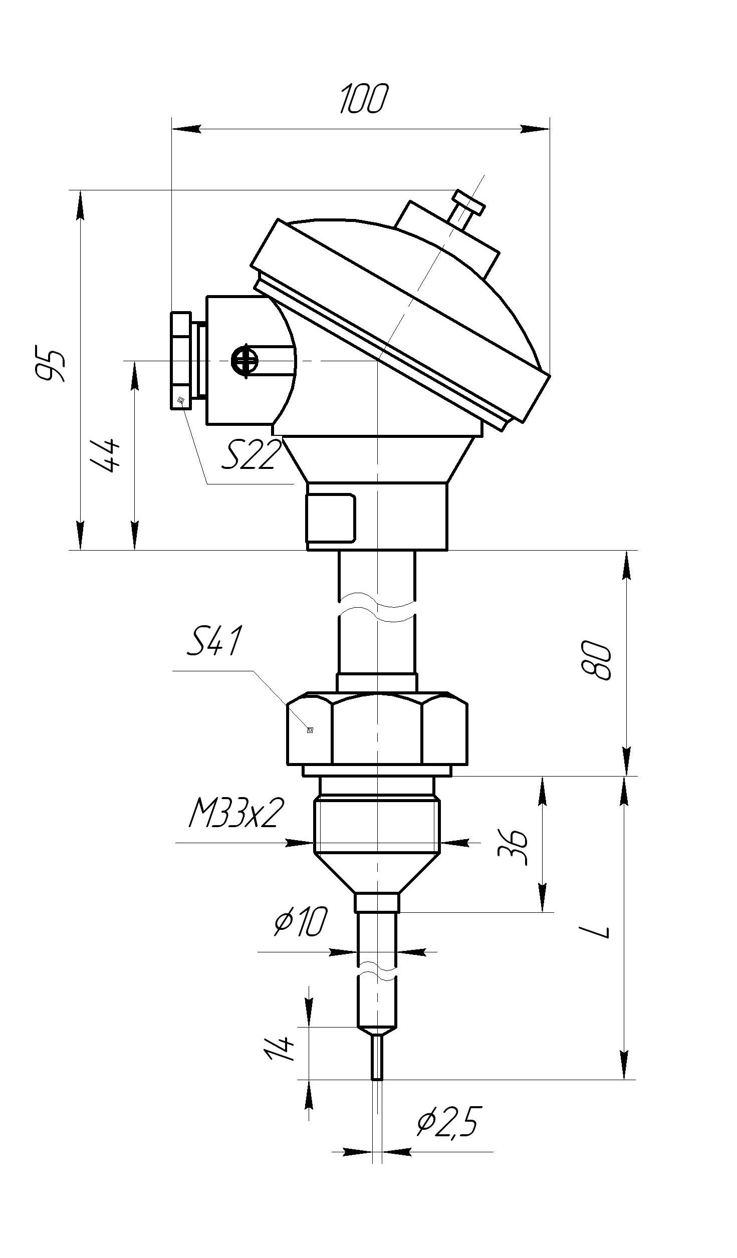
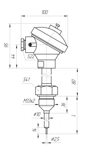
ТХА-0194-06 Корпусная термопара — со штуцером М33х2 приварным, материал — сталь 12Х18Н10Т, материал головки — алюминиевый сплав, рабочий конец Ø2,5 мм. Термоэлектроды Ø0,5 мм. Рабочий спай не изолирован. Условное давление измеряемой среды Ру=4,0 МПа.
ТХА-0194-07 Корпусная термопара — со штуцером М33х2 приварным, материал — сталь 12Х18Н10Т, материал головки — алюминиевый сплав, рабочий конец Ø2,5 мм. Термоэлектроды Ø1,5 мм. Рабочий спай изолирован. Условное давление измеряемой среды Ру=4,0 МПа.
Техническая поддержка
Николай Воронин
Руководитель отдела поддержки клиентов (термометрия)
Тех. поддержка
Написать специалисту
Заказ