ТСП/ТСМ-05-01

ТСП/ТСМ-05-01
ТСП/ТСМ-05-01

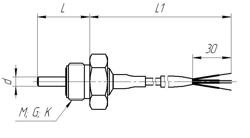
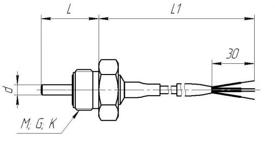
Бескорпусные термометры сопротивления с увеличенным (5 лет) МПИ для монтажа в тройник.

Отправить заявку
ГарантияДо 12 месяцев со дня ввода в эксплуатацию, но не более 18 месяцев с даты изготовления, в пределах ресурса.
Основные технические характеристики

Малогабаритные датчики. Предназначены для измерений температуры жидких и газообразных химически неагрессивных, а так же агрессивных сред, не разрущающих материал защитной арматуры.

HCX:

— для ТСП: 100П (W100= 1,391); Pt1ОО (W100= 1,385);
— для ТСМ: 100М.

Класс допуска: АА, А, В.

Интервал между поверками от 3 до 5 лет.

Диапазон измерений -50...+120 °С. Гильза с чувствительным элементом соединена с монтажным штуцером G1/2 посредством неметаллической теплоизолирующей проставки, что ограничивает теплопередачу на монтажный штуцер и позволяет производить измерение температуры с заявленной точностью. Гильза и монтажный штуцер изготовлены из стали 12Х18Н10Т. Имеет удлинительный кабель в силиконовой изоляции. Длина кабеля L1 оговаривается в заказе.

Техническая поддержка
Николай Воронин
Руководитель отдела поддержки клиентов (термометрия)
Тех. поддержка
Написать специалисту
Заказ