ТСП/ТСМ-03-01, -02, -03, -04, -05, 06, 07

ТСП/ТСМ-03-01, -02, -03, -04, -05, 06, 07
ТСП/ТСМ-03-01, -02, -03, -04, -05, 06, 07

Термометры сопротивления с увеличенным (5 лет) МПИ (компактная соединительная головка из алюминиевого сплава).

Отправить заявку
ГарантияДо 12 месяцев со дня ввода в эксплуатацию, но не более 18 месяцев с даты изготовления, в пределах ресурса.
Основные технические характеристики

Малогабаритные датчики. Предназначены для измерений температуры жидких и газообразных химически неагрессивных, а так же агрессивных сред, не разрущающих материал защитной арматуры.

HCX:

— для ТСП: 100П (W100= 1,391); Pt1ОО (W100= 1,385);
— для ТСМ: 100М.

Класс допуска: АА, А,В,С.

Интервал между поверками от 3 до 5 лет.

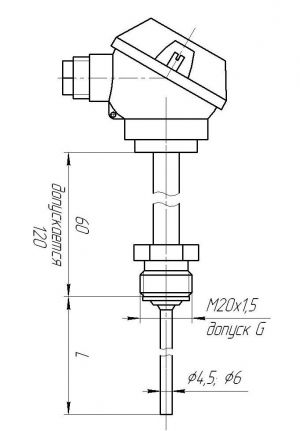
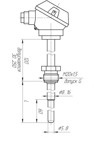
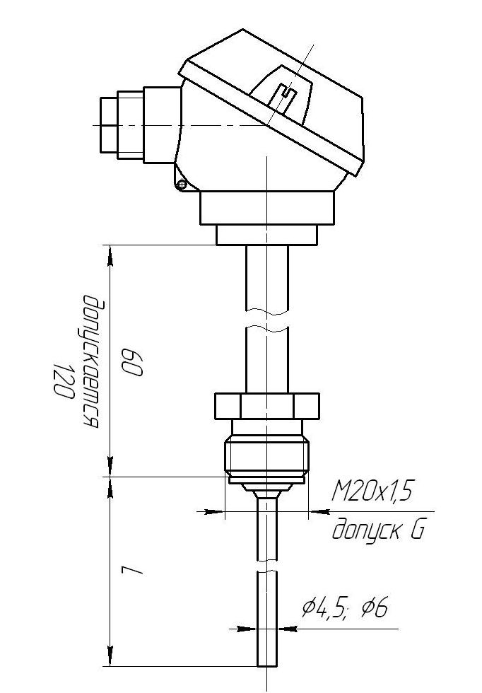
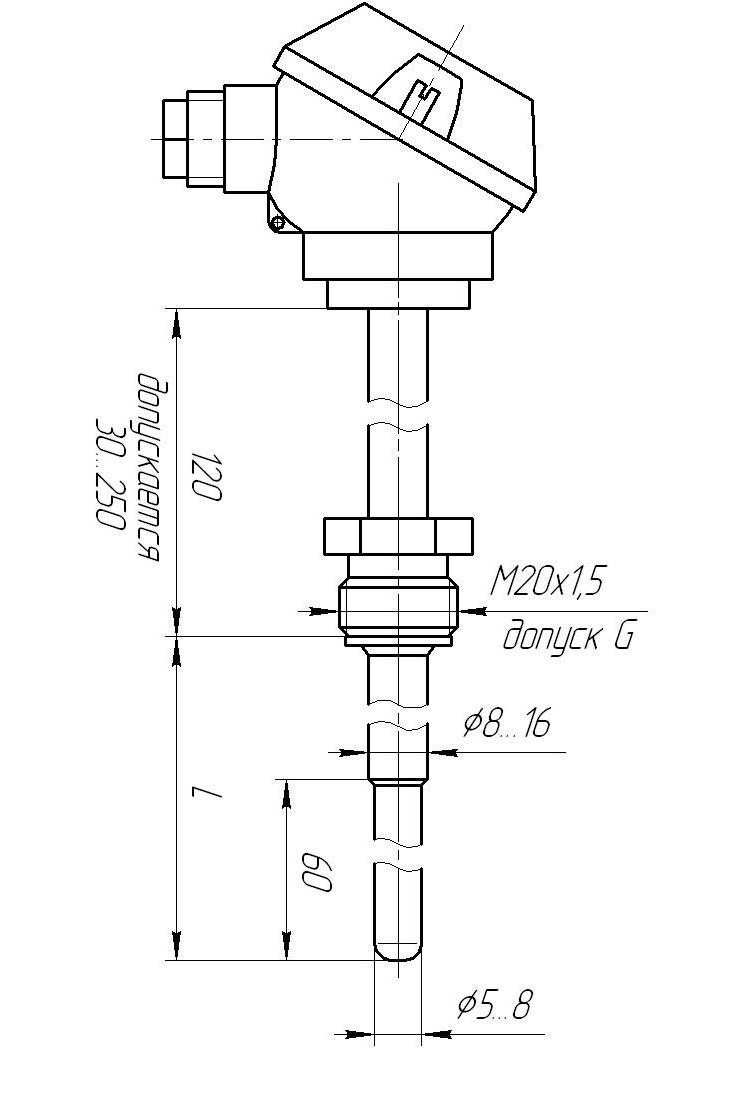
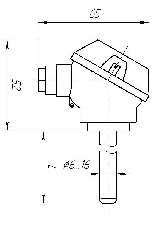
Диапазон измерений -196...+600 °С. Тип защитной арматуры — кабель RTD в стальной оболочке (12Х18Н10Т). Диаметр арматуры 8 или 10мм. Материал клеммной головки — алюминиевый сплав, размер 65х52мм.

Пример записи при заказе:

ТСП-01-01, 100мм, 100П/B/2х3, -50+200(5), 2ЧЭ, d8, С4, ТУ 4211-070-00226253-2011

Обозначение технических условий1

Климатическое исполнение

Диаметр погружной части, мм

Количество ЧЭ2

Межповерочный интервал (МПИ)

Диапазон измеряемых температур

Схема соединения проводников с ЧЭ

Класс допуска

Номинальная статическая характеристика (НСХ)

Длина монтажной части L, мм3

Исполнение термопреобразователя (см. приложение Б)

Термопреобразователь сопротивления платиновый

Примечания

  1. Обозначение технических условий допускается не указывать.
  2. 1 ЧЭ – не указывается.
  3. Длина монтажной части может быть любой в пределах значений, указанных в таблице Б.1. Для исполнений ТСП/ТСМ-04-02, ТСП/ТСМ-04-03, ТСП/ТСМ-05-01 дополнительно в скобках указывается длина удлинительного провода L1 в мм (например, ТСП-04-02, 120(5000) мм).
  4. У ТС во взрывозащищенном исполнении в условном обозначении добавляется индекс «Ех» (например, ТСП-01-01-Ех).
  5. В строке заказа, по требованию заказчика, может быть указан материал погружной части.

Техническая поддержка
Николай Воронин
Руководитель отдела поддержки клиентов (термометрия)
Тех. поддержка
Написать специалисту
Заказ