ТСП-0196-21

ТСП-0196-21
ТСП-0196-21

Термометры сопротивления для измерения температуры на пресс-формах термоформовочных машин при изготовлении изделий из пластмассы.

Интервал между поверками — 4 года

Отправить заявку
ГарантияДо 12 месяцев со дня ввода в эксплуатацию, но не более 18 месяцев с даты изготовления, в пределах ресурса.
Основные технические характеристики

Предназначены для измерений температуры поверхности твердых тел и подшипников, газообразных и жидких неагрессивных и агрессивных сред, не разрушающих материал защитной арматуры.

HCX по ГОСТ Р 8.625:

— для ТСП: 50П, 100П (W100= 1,391), PtlOO, Pt5ОО (W100= 1,385);
— для ТСМ: 50М или 100М.

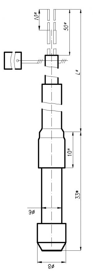
Без головки, с кабельным выводом (провод МГТФ 0,12) длиной 2500 мм. Наружная оболочка кабеля из кремнийорганической трубки 203 ТКР 2,5. Защитная арматура — из стали 12Х18Н10Т, Ø6 мм со штуцером передвижным, герметичным из стали 12Х18Н10Т. Один чувствительный элемент. Дополнительная защита кабеля фторопластовой термоусаживающейся трубкой от перегибов в месте соединения кабеля с защитной арматурой.

Техническая поддержка
Николай Воронин
Руководитель отдела поддержки клиентов (термометрия)
Тех. поддержка
Написать специалисту
Заказ